两个质量相同、所带电荷量相等的带电粒子
,
,以不同的速率对准圆心O沿着AO方向射入圆形匀强磁场区域,其运动轨迹如图所示。若不计粒子的重力,则下列说法正确的是( )。

双星系统由A、B两颗恒星组成,两恒星在相互引力的作用下,分别围绕其连线上的某一点做周期相同的匀速圆周运动。研究发现,双星系统演化过程中,两星的总质量、距离和周期均可能发生变化。若某双星系统中两星做圆周运动的周期为T,经过一段时间演化后,两星之间的距离变为原来的
倍,运动的周期为( )。




回旋加速器是加速带电粒子的装置,其核心部分是分别与高频交流电两极相连接的两个D形金属盒,两盒间的狭缝中形成的周期性变化的电场,使粒子在通过狭缝时都能得到加速。两个D形金属盒处于垂直于盒底面的匀强磁场中,如图所示。D形金属盒的半径为R,若用回旋加速器加速质子时,匀强磁场磁感应强度为B,高频交流电的电频为f,则下列说法正确的是( )。


和
,该回旋加速器也能用于加速
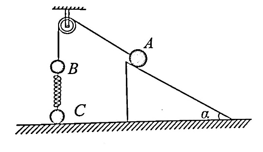
粒子如图所示,A、B两小球由绕过轻质定滑轮足够长的细线相连,A放在固定的光滑斜面上,B、C两小球在竖直方向上通过劲度系数为k的轻质弹簧相连,C球放在水平地面上。现用手控制住A,并使细线刚刚拉直但无拉力作用,并保证滑轮左侧细线竖直、右侧细线与斜面平行。已知A的质量为4m,B、C的质量均为m,重力加速度为g,细线与滑轮之间恰好离开地面。下列说法正确的是( )。



电阻R和电动机M,电联控到电路中,如图所示,电动械值为r,电键接通后,电动机正常工作,且电阻R和电动机M两端的R电压相等,经过时间t,电流通过电阻R做功为
,电流通过电动机做功为
,则有( )。





如图所示,电源电动势
,内电阻
,可变电阻尺
的最大电阻
,
,
,平行板电容器C的两金属板水平放置。在开关S与a接触且当电路稳定时,电源恰好有最大的输出功率,在平行板电容器中间引入一带电微粒恰能静止。那么( )。

的阻值增大时,
两端的电压增大
的电流流向为
接入电路的阻值应为
,电源的输出功率应为4.8W如图,一个三棱镜的截面为等腰直角三角形ABC,其介质材料的折射率为
,
为直角。此截面所在平面内的光线沿平行于BC边的方向射到AB边,进入棱镜后直接射到AC边上,则该光线( )。

如图所示为一交流电压随时间变化的图像。每个周期内,前三分之一周期电压按正弦规律变化,后三分之二周期电压恒定。根据图中数据可得,此交流电压的有效值为( )。





如图所示表示两列相干水波的叠加情况,图中的实线表示波峰,虚线表示波谷。设两列波的振幅均为5cm,且在图示的范围内振幅不变,波速为1m/s,波长为0.5m。C点是BE连线的中点,下列说法中正确的是( )。

近年来,随着科学技术的发展,人类对火星的探测又达到了一个新的水平,火星的神秘面纱正在逐渐被揭开。已知某飞船在火星的表面附近飞行时向心加速度为
,火星同步轨道处的重力加速度为
,位于火星赤道上的探测器随火星自转的向心加速度为
,下列说法中正确的是( )。




如图所示,两光滑平行金属导轨水平放置在匀强磁场中,磁场与导轨所在平面垂直,金属棒可沿导轨自由移动,导轨端跨接个定值电阻,金属棒和导轨电阻不计;现用恒力将金属棒沿导轨由静止向右拉,经过一段时间速度为v,加速度为
,最终以2v做匀速运动。若保持拉力的功率恒定,经过一段时间,速度也为v,但加速度为
,最终同样以2v的速度做匀速运动,则( )。





如图所示,实线是沿x轴传播的一列简谐横波在t=0s时刻的波形图,虚线是这列波在t=0.2s时刻的波形图。已知该波的波速是0.8m/s,则下列说法正确的是( )。

时,
处的质点速度沿y轴正方向
时,
处的质点速度沿y轴正方向用强激光照射金属,由于其光子密度极大,一个电子在极短时间内可吸收多个光子,从而形成多光子光电效应。用频率为v的普通光源照射阴极K,没有发生光电效应,换用同样频率为v的强激光照射阴极K,则发生了光电效应。此时,若加上反向电压U,即将阴极K接电源正极,阳极A接电源负极,在K、A之间就形成了使光电子减速的电场。逐渐增大U,光电流会逐渐减小;当光电流恰好减小到零时,所加反向电压U可能是下列的(其中W为逸出功,h为普朗克常量,e为电子电量)( )。





如图所示,绷紧的传送带与水平面的夹角
,传送带在电动机的带动下,始终保持
的速率运行。现把一质量为
的工件(可看作为质点)轻轻放在传送带的底端,经时间
,工件被传送到
的高处。(
,
)

求:
(1)工件与传送带之间的动摩擦因数;
(2)此过程中电动机消耗的电功率。
如图所示的平面直角坐标系xoy,在第一象限内有平行于y轴的匀强电场,方向沿y轴正方向;在x轴下方虚线ab右侧有足够大的区域,有磁感应强度为B的匀强磁场,方向垂直于xOy平面向内,且ab边与y轴平行,一质量为m,电荷量为q的粒子从(0,h)点,以大小为
的速度沿轴正方向射入电场,通过电场后从x轴上的a(2h,0)点进入磁场,后经磁场达到y轴某点,不计粒子所受的重力。求:

(1)求
;
(2)粒子经磁场区域后到达y轴位置。
如图,两根相距
、电阻不计的平行光滑金属导轨水平放置,一端与阻值
的电阻相连,导轨
一侧存在沿x方向均匀增大的稳恒磁场,其方向与导轨平面垂直,变化率
,
处磁场的磁感应强度
。一根质量
、电阻
的金属棒置于导轨上,并与导轨垂直。棒在外力作用下从
处以初速度
沿导轨向右运动,运动过程中电阻上消耗的功率不变。求:

(1)金属棒在
处的速度;
(2)金属棒从
运动到
过程中外力的平均功率。
如图所示,光滑水平面上,圆定着平面直角坐标系,Oy三个质量均为m的弹性小球用长均为的qingsheng连成一条平行于x轴的直线,静止在光滑水平面上。现给B一个沿y轴正方向水平初速度
,小球相互碰撞时无机械能损失,轻绳不可伸长。求:

(1)当小球A、C第一次相碰时,小球的速度;
(2)当三个小球再次处在平行x轴同一直线上时,小球B的速度;
(3)运动过程中小球A的最大动能
和此时两根绳的夹角
;
(4)当三个小球处在同一直线上时,绳中的拉力F的大小。
飞船对接技术是现代宇航的尖端科技,2016年10月19日凌晨,我国神舟十一号飞船与天宫二号空间实验室自助交会对接成功。交会对接时,神舟飞船与天宫二号实验室处于同一半径为R的地球轨道上相距为L(L远小于R)的两点,相对静止,此时神舟飞船启动空间微动力发动机,获得大小为F的恒定推力,持续加速t时间后,关闭发动机,沿近似直线匀速驶向天宫二号,完成交会对接。已知神舟飞船质量为
,天宫二号实验室质量为
,地球质量为M,万有引力恒量为G,为保证对接后天宫二号轨道稳定,对接后天宫二号实验室速度不超过原来1.01倍。(不计神舟飞船与天宫二号之间的万有引力):
(1)当神舟飞船匀速驶向天宫二号时,求天宫二号相对地心速度
;
(2)神舟飞船加速时间如何取值?
