2018年12月8日2时23分,我国嫦娥四号月球探测器在西昌卫星发射中心成功发射,并于2019年1月3日10时26分在月球背面成功着陆。下图为“二分二至日地球位置示意图”。读图回答1~2题。

月球探测器着陆时,美国旧金山(西五区)的时间为( )。
“嫦娥四号”月球探测器发射当日,地球位于图1中的( )。
读“桂林山水景观图”(图2)及“地壳物质循环示意图”(图3),回答3~4题。


形成桂林山水景观的岩石是( )。
形成该景观的主要地质作用是图3中的( )。
在亚欧大陆某些沿海区域,常会出现“东风送雨”现象,图4为亚洲、欧洲、非洲部分地区大陆气候分布图,图5为气候资料图。读图完成5~6题。

图4
最有可能出现“东风送雨”现象区域的是( )。
图中⑩所在区域主要气候类型对应的气候资料图是( )。

地质构造图是反映一个区域或构造单元的构造特征和构造发展历史的地质图件。图6为某区域地质构造图,图7为地壳物质循环示意图。读图完成7~8题。

图6

图7
下列说法正确的是( )。
上面左图中岩石形成的先后顺序,排列正确的是( )。
2017年2月18日《解放军报》报道西藏军区海拔4500米以上哨所全部建成“阳光保暖房”。住上这种新式营房,官兵再不用“四季穿棉袄”了。图8为大气受热过程图。据此回答9~10题。

图8
右图中,与“阳光保暖房”类似具有保暖作用的是( )。
以前官兵“四季穿棉袄”的主要原因是( )。
2018年12月5日中国天气网发布冬季首个棉裤预警,提醒全国小伙伴:一股寒潮有十足的诚意冻哭你。图9为全国棉裤预警示意图。据此完成11—12题。

形成寒潮的天气系统是( )。
下列四地预警的描述与图中实际相符合的是( )。
自然地理环境有明显的地域分异规律。图10为欧洲、非洲大陆沿某一经线方向自然带分布示意图。据图完成13—14题。

图中显示的水平地域分异规律是( )。
与其他山脉相比,阿尔卑斯山脉自然带复杂的原因是( )。
图中a、b、c表示某地不同阶段的城镇空间布局演化特征,①②③代表不同时期的城市功能区布局演化特征。读图完成15—16题。

图11
推测该地城市化过程的先后顺序最可能是( )。
图中关于城镇空间布局与城市功能区布局的对应关系,正确的是( )。
下面大图为“我国华北地区某河流中下游横截面多年水位变化图”,小图为该河流域气候资料统计。据此完成17—18题。

图12

图13
下列关于甲、乙、丙、丁及相关地理事物的叙述正确的是( )。
导致图中河流多年水位变化的原因,最可能是( )。
石墨烯被誉为“新材料之王”,随着研究技术的深入,其应用范围不断拓展。读“中国石墨资源与石墨烯产业基地空间分布示意图”,回答19~20题。

图14
从产业类型看,石墨烯产业属于( )。
下列关于我国石墨资源与石墨烯产业基地空间分布的叙述,正确的是( )。
坎儿井是新疆吐鲁番地区特殊灌溉系统。图15为坎儿井结构示意图。读图回答21~22题。

图15
暗渠对水循环的主要影响是( )。
蓄水池最大水量出现在( )。
读我国某地区人口自然增长率和人口迁移率(净迁入人口占总人口的比重)随时间变化曲线图,回答23—24题。

图16
该地区人口增长率最高的时期是( )。
③时期以后人口迁移率下降的原因最有可能是( )。
下图为是某城市功能区分布图,布局合理。读图回答25~26题。

图17
图例中字母所表示的功能区,正确的是( )。
图中适宜布局高级住宅区的是( )。
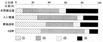
读“2012年我国四地区水资源、人口、耕地和GDP占全国比重图”,完成下列问题。

图18
水资源与人口、耕地、经济发展匹配较差的区域是( )。
①、②、③、④分别代表我国( )。
总抚养比是指非劳动年龄(0~14岁、65岁及以上)人口与劳动年龄(15~64岁)人口之比,包括青少儿抚养比(0~14岁人口与劳动人口之比)和老年抚养比(65岁及以上人口与劳动人口之比)。2016年1月1日起,我国全面放开二孩政策。下图为我国青少儿抚养比和老年抚养比变化预测图。读图回答29~30题。

图19
我国总抚养比呈持续上升的时间段是( )。
全面放开二孩政策20年内,我国( )。
阅读材料,回答下列问题。
材料一:国务院批复,2018年起将每年秋分日设立为“中国农民丰收节”。设立该节日,将极大调动亿万农民的积极性、主动性。
材料二:图20为地球公转示意图,图21为北半球海陆间热力环流示意图。

图20

图21
(1)中国农民丰收节这一天地球位于图20中______点,该日后扬州正午太阳高度逐渐变______。
(2)从2018年中国农民丰收节到2019年元旦,扬州昼长变化情况为______。
(3)地球公转到③位置时,绘制箭头完善图21中该季节的热力环流。形成该热力环流的主要原因是______。
(4)从促进农业发展的角度阐述设立农民丰收节的意义。
阅读材料,回答下列问题。
2018年11月27日至12月5日,国家主席习近平分别对西班牙(马德里)、阿根廷(布宜诺斯艾利斯)、巴拿马(巴拿马)和葡萄牙(里斯本)进行了国事访问,并出席二十国集团领导人第十三次峰会。读“习主席出访路线示意图”,回答下列问题。

图22
(1)习主席出访期间,四国首都中,日出最早的是______,白昼最长的是______。
(2)习主席到访葡萄牙的季节,该地常受______(气压带或风带)控制,气候特征是______。
(3)阿根廷是世界上牧牛业高度发达的国家,其发展的有利社会经济条件是______。
(4)巴拿马运河被誉为“世界七大工程奇迹之一”。简述巴拿马运河通航的地理意义。
阅读材料,回答下列问题。
材料一:横跨贵州省六盘水市都格镇和云南省宣威市普立乡的北盘江大桥于2016年12月28日正式建成通车。大桥由云贵两省合作共建,全长1341.4米,桥面到谷底垂直高度565米,相当于200层楼高——这也是世界最高的大桥。图23为北盘江大桥景观图,图24为云贵地区区域图。
材料二:路南石林位于距昆明市东100公里的路南县境内。2007年6月27日路南石林与贵州荔波、重庆武隆“捆绑”申报的“中国南方喀斯特”被列入世界自然遗产。

图23

图24
(1)组成路南石林的岩石为______,形成喀斯特地貌主要的外力作用是______。该地地势起伏大,降水多,加上植被破坏严重,面临的主要生态环境问题是______。这反映了地理环境的______特征。
(2)冬半年,昆明准静止锋往往影响该地区,如图24所示,在其影响下,贵阳多______天气,昆明多______天气。
(3)北盘江大桥建设时遇到的困难有______、______。
阅读材料,回答下列问题。
材料一 松花江流经吉林、黑龙江两省,年径流量762亿立方米,长度为2309公里。

材料二 近年来,哈尔滨市大力推进“海绵城市”建设。
(1)松花江主要参与了______大洋的水循环。
(2)分析松花江流域沼泽分布广泛的原因。
(3)嫩江洪涝灾害多发,分析其原因:上游______。下游______。
(4)天然“海绵体”主要包括______。
阅读材料,回答下列问题。

材料一 图为俄罗斯略图。俄罗斯有四大工业区:莫斯科工业区、圣彼得堡工业区、乌拉尔工业区和新西伯利亚工业区。
材料二 垦殖指数是指一国或一地区耕地面积占其土地总面积的比例,它是衡量一个地区土地资源开发利用程度的指标,俄罗斯国土辽阔,但比世界上许多国家的垦殖指数要低。
(1)俄罗斯地形大致以______。
(2)有俄罗斯人想把乌拉尔工业区的冶金工业迁往圣彼得堡工业区,请阐述可能的理由______。
(3)俄罗斯人近年来更为注重发展西伯利亚地区,其可能的原因是______。
(4)影响俄罗斯垦殖指数的因素有哪些?伏尔加河—顿河流域是俄罗斯的主要农业区,分析该区域成为俄罗斯主要农业区的优势自然条件。
