党中央、国务院高度重视未成年人网络保护工作。2023年9月,国务院常务会议通过《未成年人网络保护条例》(以下简称《条例》),自2024年1月1日起施行。关于《条例》中明确规定的内容,下列说法正确的是( )。
党的二十大报告对办好人民满意的教育作出重要部署,强调要“推进教育数字化”。习近平总书记在主持中共中央政治局第五次集体学习时指出:“教育数字化是我国开辟教育发展新赛道和塑造教育发展新优势的重要突破口。”对此,下列相关说法错误的是( )。
合力推进“一带一路”教育共同体建设,既能促进共建国家教育的普及公平优质发展又能传承和弘扬丝绸之路友好合作精神,为深化双多边合作奠定坚实的民意基础。下列属于我国推进“一带一路”教育共同体建设的具体实践形式的有( )。
(1)筹办“汉语桥”夏令营
(2)建设鲁班工坊
(3)建立孔子学院、孔子课堂
为了落实《关于加强新时代中小学科学教育工作的意见》的有关要求,中国科协、教育部决定共同实施科学家(精神)进校园行动并印发《“科学家(精神)进校园行动”实施方案》。下列关于科学家(精神)进校园行动的任务目标的表述,不准确的是( )。
创新是引领发展的第一动力,是建设现代化经济体系的战略支撑。企业是推动创新创造的生力军。下列措施,最有助于强化企业创新主体地位的是( )。
燃料电池作为新能源技术领域的热点,可灵活地为交通工具、家用电器、航空航天等提供动力。下列关于燃料电池的说法,有误的是( )。
下列俗语或诗词中涉及的地理知识,正确的是( )。
秦始皇统一中国后,命李斯等人针对战国时期“言语异声,文字异形”的情况,推行“书同文”。下列书体最符合当时文书撰写规范的是( )。

2023年7月开幕的《画游清明上河——故宫沉浸艺术展》通过全息投影、裸眼3D、8K超高清数字互动等科技手段呈现《清明上河图》中的城市生活,让参观者可以身临其境般感受当时的生活美学和中国传统文化。下列对《清明上河图》及其作者所在朝代的相关表述中,错误的是( )。
1949年4月23日,人民解放军解放了南京,下图为人民解放军战士登上南京“总统府”门楼的情景。对此,下列相关说法正确的是( )。

棋牌项目作为智力运动,在促进青少年发展的过程中发挥着非常重要的作用。下列关于“三棋一牌”的说法错误的是( )。
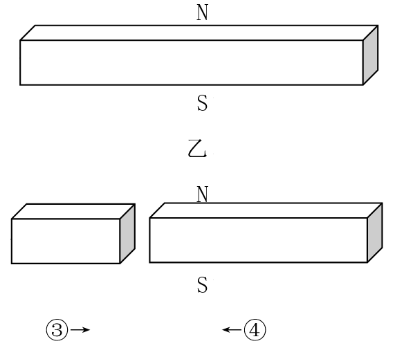
学生小韦在文具店买了甲和乙两块不同的磁铁,但是在回家的路上,不小心把磁铁掉在地上,导致两块磁铁都裂开成了两段。当小韦试图将裂开的磁铁两段沿着裂纹相互接合时(①和②接合、③和④接合),最可能产生的现象是( )。


膳食指南是健康教育和公共政策的基础性文件,是国家推动食物合理消费、提升国民科学素质、实施健康中国-合理膳食行动的重要措施。下列成年人的饮食方式中,最不符合《中国居民膳食指南(2022)》中的平衡膳食八准则的内容的是( )。
100g之间
3天的时间到健身房进行高强度的有氧运动功能良好、结构复杂的感官系统可以帮助动物感知外界的美好与危险。下列动物与其常用的感知手段对应正确的有( )。
①海豚可以利用回声对物体进行定位
②龙虾可以利用地球磁场进行定位、导航
③鲨鱼可以利用静电场探知周遭水域的情况
学校和托幼机构等人群聚集场所是诺如病毒感染疫情高发场所,下列关于诺如病毒感染的说法,有误的是( )。
语言是教育手段中最基本的构成要素之一,下列教师的语言表达方式与其体现的语言特点,对应不正确的是( )。
为深入贯彻落实“社会主义核心价值观”的宣传教育,某中心小学组织了学生前往某红色爱国主义教育基地参观,倾听讲解员讲述当地革命斗争历史。该小学采取的德育手段,包括( )。
①训练②陶冶③评价④直观
下列关于学生之间的合作与竞争,说法不正确的是( )。
下列情境不利于引导学生发现问题、积极思考、解决问题的是( )。
在日常工作、学习和生活中,人们都需要掌握一定的技能。下列例子中,体现了技能形成后具有适应性的是( )。
近现代,中国人民对中国文化的反思、反省和审视达到了空前广泛和深刻的程度,掀起了一波又一波的高潮,涌现出一大批文化名家。即使他们有些观点迥异,但他们均为中华文化自觉作出了不可忽视的贡献。他们从不同角度、不同方面对中华传统文化进行了反思、反省,不乏( ),对中国的文化自觉不无启迪。
填入括号内最恰当的一项是( )。
乐器是具有一定的规格的。乐器的每根弦、每个气孔、琴码或踏板的位置都要根据标准精心调试,达到( )。否则,一件乐器在不同的师傅手中,就会出现不同的调式。
填入括号内最恰当的一项是( )。
海菜花是一种沉水植物,为中国特有种。海菜花有3片花瓣,是白色倒心形绽放在水面上,花瓣洁白无瑕、晶莹剔透,( )着一抹鹅黄色的花蕊。它的根生长在水底的淤泥里,细长的茎和叶在水中摇曳,仿佛一根风筝线,( )着湖面的花朵。海菜花对生长环境要求极高,只能在水体洁净、透明度较高的水体中生长,被誉为水质的“试金石”。
依次填入括号内最恰当的一项是( )。
国际投资贸易洽谈会(下称“投洽会”)向来是国际资本与项目的“相亲角”。投资推介、产业对接和招商洽谈同步推进,“引进来”与“走出去”双向交流,无不( )投洽会的“专业化”特质。当前,百年未有之大变局加速演进,全球资本的“活水”将流向何处?投资中国将迎来怎样的机遇?作为中国对外投资和引进外资的( ),投洽会传递的声音备受关注。
依次填入括号内最恰当的一项是( )。
当前小剧场创作走入了一个平台期,创作氛围似乎不如以前那样( ),原创力稍显不足,许多创作团队“求稳”的心态加重,不少作品偏离了小剧场创作先锋性、实验性、创新性的初心,市场上能够给观众带来意外之喜的作品偏少,走得再远,也不能忘记来的路。面对困难和挑战,小剧场创作者要( ):为何要从事小剧场创作?是不是丢掉了创作初心?
依次填入括号内最恰当的一项是( )。
中国古典园林走向海外,直接( )了中国传统艺术思想的传播。中国古典园林的设计理念与传统山水画( ),它虚实相生的空间组织手法,“境生于象外”的审美旨趣,在有限的空间营造无限之景以及创造一个可观、可赏、可居、可游世界的筑园思想,皆来自传统山水绘画。
依次填入括号内最恰当的一项是( )。
在科幻领域,有一个普遍认知,即10岁是孩子爱上科幻的窗口期。这个年纪的孩子尚未形成思维定势,容易接受更多的可能性。少儿从喜欢到主动学习,再到接受专业引导,最终有可能开始科幻创作甚至从事科学研究,这样的人才储备才不会是( )。科幻培养人们的想象力和探索精神,而科普则将这种探索转化为知识和理解。( )科幻和科普领域是一条充满激情和无限可能的道路。
依次填入括号内最恰当的一项是( )。
不可逆转的历史进程背后,是一代代国人( )铸就的两个大字:奋斗。没有严复、梁启超、林觉民等爱国志士的奋斗,中国就无法睁开昏睡的双眼;没有李大钊、瞿秋白、方志敏等革命先烈的奋斗,中国就无法直起久曲的膝盖;没有王进喜、焦裕禄、孔繁森等英雄模范的奋斗,中国就无法挺起( )的脊梁;没有黄大年、李保国、黄文秀等时代楷模的奋斗,中国就无法踏出强国的步履。
依次填入括号内最恰当的一项是( )。
根除脊髓灰质炎关乎人类的整体命运,是推动构建人类卫生健康共同体的重要一步。世界距离根除脊髓灰质炎的目标从未如此接近,但机会之窗正在逐渐关闭。过去几年,受气候变化导致的自然灾害以及地区冲突等的影响,疫苗接种率大幅下降,病例数量有所抬头。如不( )加以根除,脊髓灰质炎病毒可能会( )。
依次填入括号内最恰当的一项是( )。
“沉浸式感受古人的秋日浪漫”“沉浸式体验北京中轴线的四季变化”“沉浸式拆螃蟹”“沉浸式饰品收纳”“沉浸式探班”······“沉浸式”的爆火,在于它“与生俱来”的互动性和体验感,满足了当代年轻人对美好生活的新期待。具体来说:一方面,“( )式的旅游”“( )式的体验”等,早已无法满足人民群众日益增长的精神文化需要,人们期待更精准、更深入、更追求趣味的参与感和体验感。另一方面,随着人民群众物质生活水平的提高,信息传播渠道的多元化,人们的新需求不断被激发。
依次填入括号内最恰当的一项是( )。
夏秋两季,从高空( )内蒙古大地时,会看到苍翠满目、绿意盎然的毛乌素沙地,牧草青青、牛羊肥壮的呼伦贝尔大草原,绿荫如盖、枝叶婆娑的敖汉旗。这一处处绿色美景的( ),离不开多年的努力奋斗。多年来,内蒙古统筹推进山水林田湖草沙系统治理,坚定不移地走生态优先、绿色发展的道路,在北方大地上( )着一个个惊人的绿色篇章。
依次填入括号内最恰当的一项是( )。
平价牙膏在线上、线下销售渠道呈现出( )的市场前景。在电商平台,平价牙膏极其常见,在超市货架上却难觅踪迹。究其原因,一方面,在消费升级趋势下,市场主流产品价位已( )至10元到30元区间;另一方面,由于平价牙膏利润微薄,负担不起线下超市等渠道的费用,部分平价牙膏生产企业经营遇到困境,有的只能( )酒店洗漱用品批发市场,有的甚至走到了破产拍卖的境地。
依次填入括号内最恰当的一项是( )。
自唐代起,书院日渐成为中古、近古时代文化教育系统中的重要组成部分。一直以来学术界关于书院的研究成果( ),近些年社会上甚至随着“国学热”而( )出现“书院热”。然而在此盛况背后,书院研究亦显现出如经济学意义上的“中等收入陷阱”之“中等研究水平陷阱”,即当书院研究进入中等研究水平之后,由于不能发现新的文献或引入新的研究方法,学术研究增长乏力,因而出现研究水平发展颇为( )的一种状态。
依次填入括号内最恰当的一项是( )。
激励干部既要尊重激励对象的劳动与付出,最大限度在情感上贴近人、价值上尊重人、成长上关心人、工作上信任人,使干部能够在正向激励中产生正向反馈,得到精神的鼓舞、激发行动的热情;也要把握好激励的时、度、效,防止“( )”的过时激励、“( )”的过度激励、“( )”的无效激励。在激励干部这件事上,大可不必担心会“惯坏”干部。只要设计得当、落实精准,激励机制将会发挥出巨大的正向推动作用。
依次填入括号内最恰当的一项是( )。
信息技术( ),深刻改变了人们的生产生活,带来诸多便利。不过,互联网是把“双刃剑”。网络空间的内容( ),信息纷繁复杂,再加上老年人网络安全素养不足、信息辨别能力差,致使他们畅游“网海”时常常遇到“暗礁”与“险滩”。这样的例子( )。
依次填入括号内最恰当的一项是( )。
在我国,横断山区由于地形地貌气候差异大,存在大量狭域分布物种,加上此前物种调查不够充分,发现新物种的数量也远高于东部地区。而从类群上看,兰科、苦苣苔科等草本植物类群个体较小、生存环境特化,发现新物种的概率也就高了不少;高大乔木更加显眼,更容易被分类学者关注,想要再发现新物种就非常难。而在动物界,相对于大型兽类和鸟类,发现新的昆虫物种就要容易得多。值得注意的是,某个学科或类群领域分类学者的多少,也会直接影响新物种的发现数量。
这段文字意在说明( )。
扎实的知识功底、勤勉的教学态度、科学的教学方法是教师的基本素质。如果教师知识不扎实,教学中必然会捉襟见肘,更谈不上游刃有余。我国自古以来就有“学高为师”的古训,指的是教师应在学识上高人一筹,这鲜明体现了深厚学识是好老师的必备素质之一。面对当前的信息化时代,经济快速发展,社会日益多元,各种新知识不断涌现,做一名好老师,必须具备扎实的学识,努力提升自身的学识魅力,这样才能满足学生强烈的求知欲,促进学生的学习发展。
以下选项与文段表达意思最相符的是( )。
正处于追求自我认同时期的年轻人,更容易受到社会潮流的影响,他们愿意尝试新的生活方式,希望能够跟上时代的步伐。极简生活广泛流行时,他们就会成为积极的响应者与践行者,因此,随着“断舍离”的盛行,有的年轻人就会选择丢弃大量的物品,去感受“断舍离”所带来的轻松与愉悦。而一些商家会直接引导部分年轻人的选择,如一些品牌的宣传策划将其产品打上极简生活方式的烙印,使其商品不仅仅是一件商品,更是一种生活方式的选择,一种爱自然、爱健康、爱生活、爱环保的表现,使得那些追求时尚的年轻人更愿意为此买单。
这段话主要讲述了( )。
战略决策是指从特定系统的全局、长远、大势上作出科学判断和综合决策。推进中国式现代化是一项前无古人的开创性事业,面对复杂战略形势,战略决策者要善于通过历史看现实、透过现象看本质,把握好全局和局部、当前和长远、宏观和微观、主要矛盾和次要矛盾、特殊和一般的关系,不断提高战略思维、历史思维、辩证思维、系统思维、创新思维、法治思维、底线思维能力,这离不开高水平战略研究与战略咨询的支撑。
文段接下来最可能讲述的是( )。
在城市快递配送业务流程中,由于城市交通法规的要求,大车一般采用的是带集装箱的中型货车,小车主要以三轮物流车或两轮载货电动车为主。在这种配送模式中,大车主要负责从城市中转仓或者前置仓转运快递到相应的营业网点,然后网点负责分发给各个小车,小车需要完成各个用户节点的配送。末端的配送需根据用户的选择进行直接配送或者暂存于寄存点,用户在自己方便的时间点进行自取,至此完成快递配送。
根据这段文字,下列说法正确的是( )。
在我国正常年份的6月中下旬,北方干热,南方凉爽。然而近年来,破纪录高温反复出现,今年北方某地最高气温达到44.2℃,打破了当地的历史纪录。这样的极端高温天气里,在户外犹如身处烤炉,艳阳之下的街道,行人车辆稀少,广场不见人影,宛如午夜。随着北半球夏季的到来,这样的“白夜”在全球蔓延。上文中的“白夜”指的是( )。
青年在哪里,党的思政阵地就应该推进到哪里。今天的青年是自带“互联网基因”的一代,从小就生活在互联网环境中,从网络平台获取信息、在社交媒体沟通交流已经成为他们的日常生活方式。因此,大思政课的“大”,不仅要体现在传统课堂,更要主动拥抱“互联网+”的时代浪潮,打造“云上思政”平台,构建网络思政新形态。而这一切的关键,就在于 ,在“润物无声”“日用不觉”中引导青年立大志、明大德、成大才、担大任。
填入画横线部分与上下文衔接最恰当的一项是( )
将二氧化碳等原料在反应溶液中按一定比例调配,在人工改造过的酶等催化剂的催化作用下,可高效、精准获得葡萄糖、阿洛酮糖、塔格糖、甘露糖4种己糖。阿洛酮糖甜度约为蔗糖的70%,口感纯正,几乎不含热量,对促进消化、控制体重、抑制血糖均能起到一定的作用,是有助于减肥及改善体脂率的新一代天然甜味剂。 ,除此之外,大多数己糖在自然界中非常稀少。以阿洛酮糖、塔格糖为代表的稀少糖,具有与食糖相似的口感,但升糖指数低。
填入画横线部分与上下文衔接最恰当的一项是( )。
①把时间“还”给科研人员,需要多方政策和机制保障,在项目申报、科研评审流程、经费管理等方面继续精简优化
②做“减法”的同时还要做“加法”赋能,赋予科研单位和科研人员更大技术路线决定权、资源调度权等
③近年来,我国持续推动科技领域的“放管服”改革,开展多轮减轻科研人员负担行动,进一步激发创新创业创造活力
④科研项目和经费管理不断优化,取得显著成效;人才评价“唯论文”等现象得到进一步纠偏,逐步建立起科学分类评价体系
⑤比如,探索更为宽松、柔性的科研经费使用管理方式,建立让科研人员把主要精力放在科研上的保障机制
⑥但同时也要看到,科研项目申报材料多、评价考核频繁等问题还没有得到根本解决,离广大科研人员的减负赋能预期还有一定差距
将上述句子组成语意连贯的语段,排序最恰当的一项是( )。
①早在周代,人们通过钤盖印章来确保商品货物在流通中的安全运送及保存,凭信的实用功能应运而生
②在从实用走向审美的这些过程中,印章艺术记录了中国古代文明的诸多信息
③从诸多历史资料和被挖掘的实物来看,印章无疑是社会经济发展到一定阶段的产物
④除了被用来钤保管物品文书的封泥之外,还有器物标明、佩戴饰物、死后殉葬等
⑤随着社会经济的日益发展,印章的功用不断拓展
⑥中华五千年文明中蕴含着先人的无穷智慧,印章的起源亦是其中的体现
⑦同时,在社会阶级分化的过程中,从统称“玺”到不同社会阶层以玺、印、章等分称,印章也成了权势的象征
将上述句子组成语意连贯的语段,排序最恰当的一项是( )。
为推动学校群众性体育活动的开展,丰富课余生活,育才学校近期举行了田径运动会,参赛运动员的服装颜色有红、黄、蓝、灰四种。运动会开幕式上,所有参赛运动员刚好组成一个实心方阵,已知最外层的运动员共有84人,且服装颜色均为红色,若该方阵由外向里,依次按服装颜色一层红、一层黄、一层蓝、一层灰的顺序排列,则该实心方阵中,穿蓝色服装的参赛运动员共有( )人。
红星学校下周末拟承办某职业资格考试,周日参考人数比周六少330人。该校的普通教室可用作30人考场,阶梯教室可用作70人考场。周六、周日两天除正式考场外还需要分别准备2个和1个普通教室作为备用考场。学校综合办公室现对教室进行安排,周六共需要安排35个教室,两天安排的阶梯教室数量相同,且两天每个正式考场的座位均安排满。则周日一共需要安排( )个教室。
某学校正在举办教职工足球友谊赛,共六支球队参赛。本次比赛采用单循环制,即每两支球队之间都赛一场,如果分出胜负,则胜队得3分,负队得0分;如果打平,则两支球队各得1分。现在每支球队都已经进行了4场比赛,共出现了4场平局,所有球队得分都不相同,排名第三的球队共得7分,那么排名第五的球队最多得( )分。
为庆贺农村丰收节,甲县将在长112米、宽70米的长方形草坪办乡村音乐会。如下图所示,舞台两侧E、F位置需各摆放一个大型音响,另外需在AB、BC、CD三条边放置小型音响,相邻两个小型音响的距离保持一致,且A、B、C、D四个位置必须各摆放一个小型音响。主办方将按上述要求确定的音响数量进行采购,已知一个大型音响14500元、一个小型音响3750元,购买金额超过10万元可享受八折优惠。则此次音乐会购置音响至少需要花费( )元。

某科研机构的小李、小王、小夏、小兵四人要去甲地考察,他们四人乘坐同一趟高铁,早上十点半出发,大概下午四点钟至五点钟到达目的地。当他们下车时,小夏发现高铁站时钟上分针和时针恰好在同一条直线上(不重合),则他们下车的时间为下午( )。




2022年,A省普惠性幼儿园覆盖率为90.9%,比2020年提高6.4个百分点。学前教育毛入园率为98.2%,比2020年提高3.3个百分点。小学、初中学龄儿童净入学率均为100%,与2020年一致。九年义务教育巩固率为97.4%,比2020年提高1.9个百分点。高中阶段毛入学率为93.9%,比2020年提高1.6个百分点。特殊教育在校生中义务阶段在校生4.2万人,比2020年增加1696人。
2022年,A省适龄儿童免疫规划疫苗接种率为99.72%,维持在较高水平。中学开展预防艾滋病教育和性教育相关课程和活动的学校比例为98.6%,比2020年提高18.6个百分点。
2022年,A省每千常住人口拥有3岁以下婴幼儿托位数由2020年的0.9个提高到2.75个。儿童参加城乡居民基本医疗保险人数为1266.8万人,比2020年增加337万人。儿童参加基本医疗保险覆盖率维持在95%。城乡社区儿童之家数量为1.8万个,比2020年增加1756个,未成年人救助保护机构数为81个,增加3个,乡镇(街道)未成年人保护工作站648个,增加401个。
2022年,A省残疾儿童接受康复救助人数为3.6万人,占全国的8.84%,比2020年增加2090人。低保对象中儿童人数为22.8万人,比2020年减少2.2万人。集中养育孤儿保障标准为每人每月1510元,比2020年增加60元;社会散居孤儿保障标准、事实无人抚养儿童保障标准均为每人每月1100元,比2020年均增加50元。
2022年,A省公共图书馆少儿文献藏量627.1万册,以2020年增加204.5万册。未成年人参观博物馆348.4万人次。少儿广播节目播出时间1.1万小时,少儿电视节目播出时间1.3万小时,电视动画片播出时间1.4万小时。处置网上危害儿童的违法和不良信息数量1355条,比2020年增加1090条。
2020年,A省的下列指标中最低的是( )。
2022年A省参加城乡居民基本医疗保险的儿童人数比2020年增长了约( )。
2020年,A省集中养育孤儿保障标准约是社会散居孤儿保障标准的( )倍。
下列柱状图中,最能准确反映2022年A省少儿电视节目播出时间,电视动画片播出时间,少儿广播节目播出时间情况的是( )。




根据上述资料,下列说法正确的是( )。
经核算,2022年H省旅游及相关产业增加值2608.90亿元,GDP的比重比上年增加0.01个百分点。
表1 2017-2022年H省旅游及相关产业增值及占比情况

在全口径增加值中,2022年全省旅游业(不含相关产业)增加值2325.80亿元,占全省旅游及相关产业增加值的比重为89.15%;旅游相关产业增加值283.10亿元,占10.85%。按行业分,旅游出行增加值674.74亿元;旅游住宿增加值170.91亿元;旅游餐饮增加值430.16亿元;旅游游览增加值249.33亿元;旅游购物增加值432.17亿元;旅游娱乐增加值230.33亿元。
表2 2022年H省旅游及相关产业增加值

填入表2中“①”处的数值最恰当的是( )。
2022年,H省GDP约为( )亿元。
以下折线图中,最能准确反映2019-2022年H省旅游及相关产业增加值同比增长率的变化趋势的是( )。




假设从2022年开始,H省旅游及相关产业增加值的同比增长率均保持不变,则2025年H省旅游及相关产业增加值( )。
3100亿元之间
3200亿元之间根据上述资料,下列说法正确的有( )个。
①“十三五”期间,H省旅游及相关产业增加值占GDP的比重最高的年份是2018年
②按行业分,2022年H省旅游出行增加值约是旅游娱乐增加值的2.9倍
③2022年,H省旅游住宿增加值占H省旅游业(不含相关产业)增加值的比重低于7%
根据所给图形的既有规律,选出一个最合理的答案( )。

根据所给图形的既有规律,选出一个最合理的答案( )。

根据所给图形的既有规律,选出一个最合理的答案( )。

如左图所示,将一张正方形纸张沿对角线对折一次后,再沿斜边上的中线对折一次,最后将虚线部分剪去,那么它的展开图正确的是( )。

把下面的六个图形分为两类,使每一类图形都有各自的共同特征或规律,分类最为恰当的一项是( )。

融媒体是指多种媒体形式和平台的融合与整合,通过技术手段实现内容集成和传播的新型媒体。它结合了文字、图片、音频、视频等不同形式的媒体内容,并通过互联网、社交媒体、移动终端等平台进行传播和交互。
根据上述定义,下列体现了融媒体的是( )。
反向消费是一种既追求品质又追求性价比的消费行为。当下不少年轻人追求舒适、精致的生活,但是这样的生活不意味着要奢侈消费。以更低的成本买到优质的商品成为更多人的选择。由此流行起来的理性消费逻辑,也成为了年轻人口中的“反向消费”。
根据上述定义,下列没有体现反向消费的是( )。
针对学生的数字体育,是指通过融合传统体育教育与数字技术,以运动伴生数据赋能体育参与、技能习得、运动保护的体育教育新样态。
根据上述定义,下列没有体现数字体育的是( )。
问题导向就是以解决问题为方向,少做与问题关联不大、不做与问题无关的无用功。坚持问题导向,不仅是工作方法、精神境界,更是原则、政治品质。
根据上述定义,下列选项中,突出体现了问题导向的是( )。
生成式人工智能技术,是指具有文本、图片、音频、视频等内容生成能力的模型及相关技术,是一种基于大模型生成广泛内容的人工智能技术。与传统的人工智能存在弱交互、单任务与封闭性的技术局限不同,在生成式人工智能的技术机制下,机器涌现出理解力与创造力,可实现对人类脑力劳动的替代,形成人机共生的关系。
根据上述定义,下列最可能涉及了生成式人工智能技术的是( )。
蜈蚣平均多达40只脚,但却能够步履协调、正常行走。当别的小动物问蜈蚣是怎么做到用这么多脚走路时,蜈蚣也开始好奇地观察起自己平时怎么走路,结果它的脚反而开始纠缠在一起。这便是蜈蚣效应,即对事物有超过平常的关心,反而导致在处理问题时方寸大乱。
根据上述定义,下列没有体现蜈蚣效应的是( )。
自营物流是指企业自身经营物流业务,建设全资或控股物流子公司,完成企业物流配送业务,即企业自己建立一套物流体系。
根据上述定义,下列属于自营物流的是( )。
欧·亨利式结尾是指在文章情节结尾时突然让人物的心理情境发生出人意料的变化,或使主人公命运突然逆转,出现意想不到的结果,结尾既在意料之外,又在情理之中。契诃夫式结尾,即作者以一种忧郁的风格和平淡的笔法结束了全文,却将血淋淋的现实展现给读者,让每一个人都感到幻灭、苦涩、心碎、失望,甚至筋疲力尽。
根据上述定义,下列故事的结尾属于契诃夫式结尾的是( )。
以劳树德的意思是通过劳动来树立德行,指的是通过实际行动来建立自己的品德和声誉,从而获得社会的认可和尊重。以劳增智,是指通过劳动引导人们发现问题、解决问题,促进人们的思维发展。以劳益美,是指引导人们在劳动中学会发现美、欣赏美、创造美,不断提高审美情趣。
根据上述定义,下列判断正确的是( )。
①A市的李女士,长年坚守在最为繁忙的办税服务大厅纳税咨询服务岗位,近三年受理咨询的工单量近20000条,她也因此被评为A市劳动模范
②某小学开展“稻田课堂”主题实践活动,孩子们在老师的带领下走进乡村稻田,通过画丰收、识稻等活动感受秋收喜悦
③B市的小姜为人勤奋踏实,办理案件800多件,涉及1000余人,均无错案,获评B市检察院“最美检察人”称号
④C市的中学生小张在洗衣服的过程中发现,生活中有很多用剩的小肥皂片很难继续使用造成大量浪费,于是她发明了一种更节约的新型肥皂,她的发明最终获得了国家实用新型专利证书
佐尔拉错觉,是指一些平行线由于附加线段的影响而容易被看成是不平行的;冯特错觉,是指两条平行线由于附加线段的影响,使得中间和两端的宽窄看上去不一致,且直线好像是弯曲的;爱因斯坦错觉,是指在许多环形曲线中,正方形的四边略显弯曲;波根多夫错觉,是指被两条平行线切断的同一条直线,看上去不在一条直线上。
根据上述定义,下列图形所对应的错觉正确的是( )。

氪气:氙气
前人栽树:后人乘凉
大本钟:伦敦:英国
选择产品:策划流程:开展直播
搬砖对于( )相当于( )对于石崇。
合作课题组利用18个不同进化节点中的代表性植物物种,系统开展根系内皮层凯氏带和木栓质片层起源的研究。该研究发现,凯氏带存在于包括石松类、蕨类、裸子植物以及被子植物在内的所有维管植物,而木栓质片层仅存在于包括裸子植物和被子植物在内的种子植物中。因此,凯氏带起源于所有维管植物的共同祖先,而木栓质片层则在更晚的种子植物共同祖先中才被进化出来。
这一研究基于的前提最可能是( )。
最近,某研究机构发现,与“很少”向食物中添加盐的人相比,“有时”“经常”或“总是”向食物中添加盐的人患2型糖尿病的风险分别高出
、
和
。该研究机构因此得出结论,少吃盐有助于预防2型糖尿病。
假设下列选项为真,对该机构的结论最能起到削弱作用的是( )。
一提到战士、探险者等,人们首先会想到的是身材雄壮、拥有雄性魅力的男性,因为这种职业充满危险,需要非常好的体力,而女性往往很难从事这样的职业。但是一讲到纺织工、模特、文员、会计这些职业身份,人们容易想到的就是女性,因为这些职业不需要多大的体力,反而需要的是细心和耐心,这两样都是女性身上的优点。因此,有人认为,自从人类出现以来,这种男女差别就已经存在。
若下列选项为真,最能削弱上述观点的是( )。
某研究团队认为,不仅儿时的记忆不可靠,成年人也可能被植入虚假的记忆。对此,研究人员以“暴力犯罪研究”为主题,让参与研究者在三次访谈中都被问及暴力犯罪的问题并加以诱导。结果显示,其中70%的人会产生自己年轻时犯过罪的虚假记忆,有些人甚至相信自己曾用武器攻击过他人,近四分之三的人能够生动地描述出警察的长相。
由此可以推出( )。
如果具有同样天赋的孩子都接受同样的教育,那么他们在社会地位和收入方面就会拥有同样的前景,即使他们的家庭环境有很大的差别。
若上述论断为真,下列说法正确的是( )。
某市的2023年教育系统单项奖名单即将公布,关于希望、华光、火炬、德成、思华五个中学的获奖情况,有如下说法:
①希望、华光、火炬三个中学中,至少有一个中学获得了管理奖;
②若希望中学获得了管理奖,则华光中学获得了创优奖;
③若华光中学获得了创优奖,则德成中学获得了优秀思政工作奖;
④华光中学和思华中学至多有一个学校获奖;
⑤德成中学和思华中学有且仅有一个学校获奖了。
假设上述说法都对且最终德成中学没有获奖,则下列说法一定正确的是( )。
某军队出征前,主帅召集全体将军和谋士商议军队的职责安排。
主帅:我需要几名先锋,只有武艺高强的人才能担任军队的先锋;
谋士:我们谋士都不习武,我们为主帅出谋划策;
将军:先锋都必须骑马,请主帅看看我们的武艺和马术水平。
若以上为真,下列不能判断真假的有( )。
①武艺高强的人不一定能担任先锋
②有的武艺高强的人需要骑马
③军队的谋士都不骑马
自然科学基金委员会领导在某周分别参观了1号、2号、3号、4号、5号实验室。已知:
(1)领导对2号、3号实验室只提出了改进建议;
(2)第2个被参观的实验室受到了领导的表扬,也得到了改进建议;
(3)1号实验室是第4个被参观的实验室;
(4)参观5号实验室是在参观4号实验室之后。
根据上述信息,自然科学基金委员会领导参观实验室的顺序可能为( )。
近年来,我国有多个城市不再全面禁止“路边摊”,关于“路边摊”是否应该回归城市,有人认为“路边摊”有其独特的优势,应该支持,也有人对此持相反态度,现有如下讨论:
市民1:“路边摊”是城市里的人间烟火,从侧面反映城市的生机与活力。对于经营者来说,“路边摊”能解决部分生计问题,对于市民来说,“路边摊”也极大地便利了我们的日常生活。
市民2:“路边摊”管理是个难题,不知道大家买过多少“路边摊”的东西,我在“路边摊”买的东西经常有问题,不是缺斤少两就是有质量问题。
市民3.“路边摊”逐渐回归,让更多的人从中受益,更能彰显城市的民本底色和人性化管理思维。
市民4:路边小吃摊点的卫生状况实在今人担忧,大多食品都未经监管部门审批,从业人员健康状况不明,所用原材料质量也难以保证。
市民5:各大城市除了应该看到地摊经济在一些地方呈现出的热闹场景,更应该仔细琢磨热闹背后的思维转变和治理升级。
市民6:“路边摊”不但会影响市容市貌,还容易造成交通拥堵。
市民7:在全国地摊经济浪潮下,A市公开允许市民摆地摊,随后带火了A市烧烤吸引众多游客前往A市,给A市创造了较大的经济效益,这说明地摊经济值得在全国推广。
下列市民的观点中,均对“路边摊”回归城市持支持态度的是( )。
对下列问题的讨论,与市民7的论证过程不直接相关的是( )。
某次课堂上,你听到小李的抽屉中发出一阵持续的振动声响,你怀疑小李带手机进入课堂,要求他把手机交出来。但小李却回答道:“谁主张,谁举证。你有证据证明我带手机了吗?”
面对这样的情况,下列做法最恰当的是( )。
某次课堂上,你看到学生精神状态不佳,还有不少学生频频要去洗手间。一番询问下得知,原来是上一节课的老师把下课时间“霸占”了。
面对这种情况,下列做法最恰当的是( )。
小学语文《桂林山水》的公开课上谭老师请学生朗读课文时,学生小张举手非常积极,但却读得磕磕巴巴,不少字还读错。
此时谭老师最恰当的做法是( )。
今日课间,初三(3)班的小新同学又被班主任肖老师“请”到办公室,坐着进行“自我反省”了。班上教英语的王老师见状后,与小新发生了如下对话:王老师问:“你课间怎么不去和小伙伴一起玩呢?”小新答:“我上课捣乱,搞得同学上不了课,就被肖老师叫到了这里。”王老师又问:“为什么不好好学习呢?”小新答:“我也想好好学,可是上课根本听不懂,只好动来动去搞出点声响,好让大家关注我。”
此时王老师最恰当的回应是( )。
王明的家长总是乐此不疲地拿别人家的孩子和自家的比,只要一发现孩子在哪一方面不如别人,便免不了数落自家孩子的不是。学期末,因王明数学成绩略有下滑,他的家长就当着外人的面批评道“你看人家李婷,为什么你就考成这样?”之后的数学课堂上王明就一直无精打采。
若你是王明的班主任,为帮助他找到自信,明确前进的方向,你最适合对他说( )。
四年级(1)班学生小辉的家长向班主任求助称:“我每天早上都是一边不停地催促孩子刷牙洗脸,一边替孩子收拾书包、文具,孩子的作业本还经常找不到,在家吃饭、睡觉也要反复提醒,催一催才会动一动,这让我感到心很累。”
张老师给小辉家长的建议最恰当的是( )。
初一新生开学报到那天,一个男生引起了班主任陈老师的注意。与其他孩子不太一样的是,整个报到过程中他一直牵着妹妹,爸爸妈妈也在一旁陪伴着。报到完毕,他爸爸略显担心地与陈老师沟通:“陈老师,我们家孩子有点内向,他担心自己不能适应新环境。”
此时陈老师最恰当的回复是( )。
某天中午,学生都在教室内午休,高二(1)班的班主任老师在经过教学楼四楼自己班教室的门口时,突然感觉地面轻微晃动起来,学校的地震警报铃声随即响起。
沈老师此时最恰当的做法是( )。
班主任张老师计划围绕六年级学生的共性问题,组织一次聚焦青春期现象和升学压力的主题家长会,旨在引导家长和孩子一起为未来的升学和发展做好准备。在组织这次家长会时,张老师选择下列( )项的环节和顺序最为合适。
①对比分析孩子如今出现的变化,引出家长们普遍面临的困惑,引出与青春期孩子沟通的话题
②引出初小衔接的升学问题,提醒家长初中不是小学的简单接续,而是一个转折
③播放孩子入学时的视频让家长找一找自己的孩子,勾起美好回忆
④与家长探讨青春期孩子的心理特点,指导家长采取恰当的方式与孩子沟通交流
⑤告知家长初中与小学学习有明显差异:学习难度更大、内容更多,思维方法上由理性思维逐渐向感性思维过渡
⑥指导家长从帮助孩子做好心理调节、系统梳理小学阶段知识为初中学习打好基础、进行有针对性的能力训练等方面为初小衔接做好准备
⑦就会前通过问卷收集的家长关切的问题一一作出回应
在高一(6)班管理中,崔老师观察到不少学生总把“躺平”之类的消极词汇挂在嘴边,抗拒参与班集体事务,同学之间缺乏相互关爱的意识。因此,崔老师计划组织一次以“小班级是我家互助友爱靠大家”为主题的教育活动,给学生开一剂正能量“药方”。为提高学生的参与度,崔老师最适合为该主题教育活动的导入环节选择下列( )项的形式来进行。
